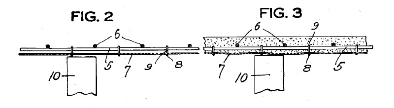
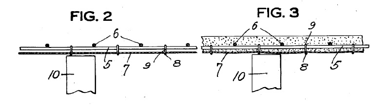
‘Figs. 2 and 3 from Patent application 1597507 Steeltex wire lath. Issued Aug. 24, 1926’ Published February 10, 2014 at 800 × 219 in Metal wire lath. All hail Sir Fabric Figs. 2 and 3 from Patent application 1597507 Steeltex wire lath. Issued Aug. 24, 1926 ‹ Back
Leave a comment