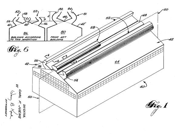
‘detail from patent for Gravity Ventilator 10-22-1963’ Published May 2, 2017 at 578 × 443 in MissPres Word of the Week: Gravity Ventilator Detail from patent for Gravity Ventilator 10-22-1963 ‹ Back
Leave a comment